你的位置:九游「中国」Ninegame·官方网站-登录入口 > 资讯 > 九游体育官网登录入口净买入的有振华股份、龙迅股份、光云科技等-九游「中国」Ninegame·官方网站-登录入口
九游体育官网登录入口净买入的有振华股份、龙迅股份、光云科技等-九游「中国」Ninegame·官方网站-登录入口
时间:2025-11-19 07:44 点击:106 次
数据宝统计透露,11月18日共有53只个股上榜龙虎榜,其中,12只个股前五大交易营业部中出现沪股通专用席位的身影。净买入的有振华股份、龙迅股份、光云科技等,净买入金额分离为8292.76万元、4238.73万元、1790.14万元。净卖出的有石大捷华、中原幸福、大有动力等,净卖出金额分离为6814.20万元、4019.18万元、1816.34万元。
举报 关连阅读
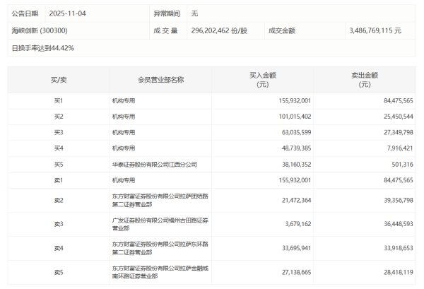
海峡翻新当天涨19.98%,4家机构专用席位净买入2.24亿元海峡翻新当天涨19.98%,4家机构专用席位净买入2.24亿元
0 11-04 16:28
念念维列控当天跌9.87%,有4家机构专用席位净卖出1.25亿元念念维列控当天跌9.87%,有4家机构专用席位净卖出1.25亿元
17 11-03 17:06
和而泰当天涨1.47%,1家机构专用席位净买入2.09亿元和而泰当天涨1.47%,1家机构专用席位净买入2.09亿元
0 09-24 16:52
凯好意思特气当天涨3.86%,有2家机构专用席位净卖出1.31亿元凯好意思特气当天涨3.86%,有2家机构专用席位净卖出1.31亿元
0 09-24 16:51
沃尔核材当天涨停九游体育官网登录入口,有3家机构专用席位净卖出1.85亿元沃尔核材当天涨停,有3家机构专用席位净卖出1.85亿元
0 09-23 16:28 一财最热 点击关闭
